A newly revealed patent suggests PlayStation could soon deploy an AI companion capable of taking the controller to solve puzzles or conquer difficult levels.
- AI-Powered Assistance: Sony has patented a “Ghost Player” system that uses AI trained on gameplay footage to either demonstrate solutions or physically complete difficult sections for stuck players.
- Evolution of Accessibility: This technology appears to be an advanced iteration of the current PS5 Game Help system, offering a more interactive alternative to the static videos or hint cards currently available.
- Industry-Wide Trend: While just a patent, this move aligns with a broader industry push toward AI gaming assistants, mirroring similar initiatives like Microsoft’s Copilot for Gaming.
We have all been there: you are deep into a cinematic adventure, fully immersed in the story, when suddenly you hit a brick wall. A cryptic puzzle or a punishing boss fight brings your progress to a grinding halt. According to a recently published patent, Sony may have a high-tech solution to this age-old gaming frustration.
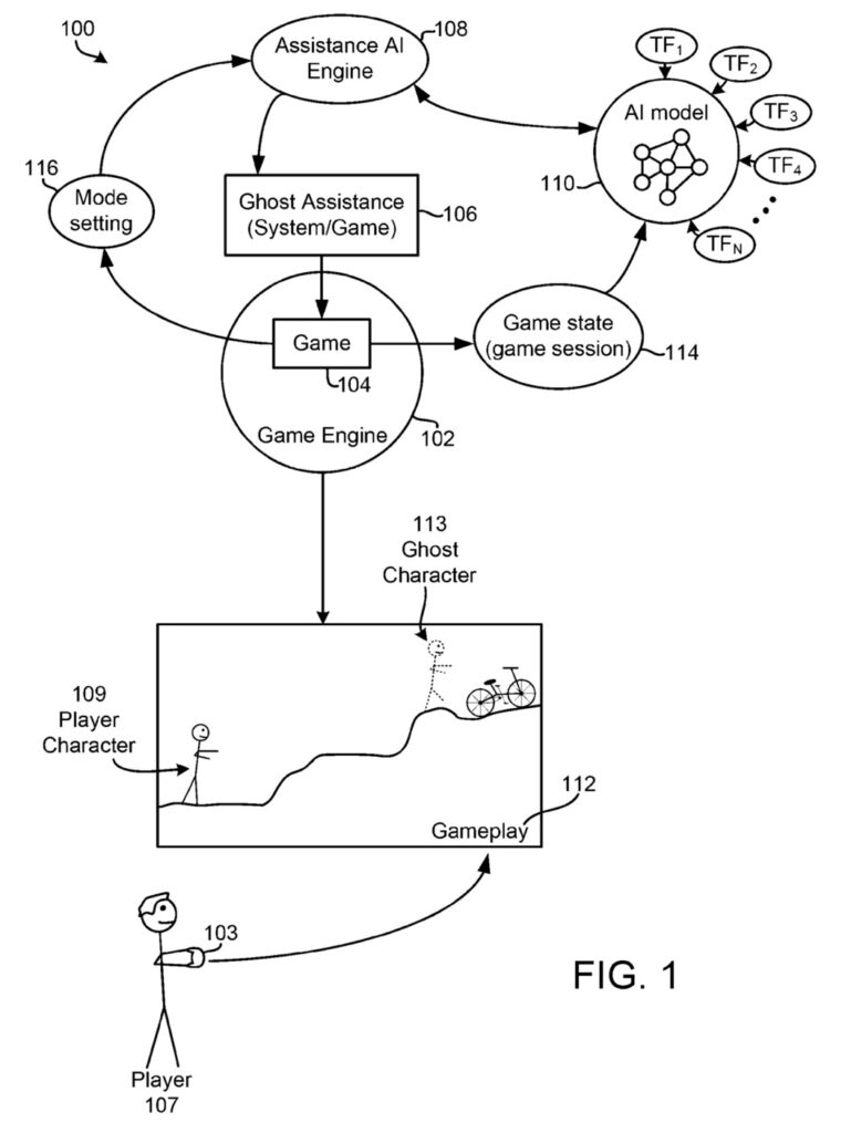
The patent, originally filed in September 2024 and recently spotlighted by the World Intellectual Property Organization, describes an AI-generated “Ghost Player.” This system is designed to act as an on-demand troubleshooter, stepping in when players cannot progress. Unlike traditional walkthroughs that require you to look away from your screen, this technology would integrate directly into the game, offering a seamless helping hand.

How the “Ghost Player” Works
The patent outlines a sophisticated system that goes beyond simple text hints. The AI would utilize two primary functions to assist players:
- Guide Mode: Imagine you are stuck on a complex puzzle in an Uncharted game. In this mode, the AI would generate a “ghost” version of your character (e.g., Nathan Drake) to physically act out the solution on screen. You watch the ghost, learn the mechanics, and then execute the moves yourself.
- Complete Mode: for those moments of absolute frustration, the AI could take full control. It would complete the difficult combat encounter or platforming section entirely, handing control back to you once the obstacle is cleared.
Crucially, the patent documents claim this AI is not merely replaying a developer’s pre-recorded script. Instead, the model would ostensibly be trained on existing gameplay footage, allowing it to adapt dynamically rather than just playing back a video file.
Balancing Assistance and Immersion
This potential feature appears to be a natural evolution of the PS5 Game Help system launched alongside the console. Currently, Game Help allows PlayStation Plus subscribers to pull up hint cards or short videos without leaving the game—a feature praised by trophy hunters for its convenience. The “Ghost Player” would take this concept a step further by making the solution interactive.
However, the integration of help systems is a delicate balancing act. Recent titles like God of War Ragnarok faced criticism from players who felt that NPC companions were too chatty, loudly spoiling puzzle solutions before the player had a chance to think. A selectable “Ghost Player” could solve this by putting the agency back in the player’s hands—offering help only when explicitly asked for, rather than unprompted.
The Broader AI Revolution in Gaming
Sony is not alone in envisioning an AI-assisted future. The industry is seeing a surge in “intelligent sidekicks.” Last year, Microsoft introduced Copilot for Gaming, pitching it as a personalized companion and coaching tool. Microsoft’s system allows players to ask natural language questions—such as asking a Minecraft crafting recipe or requesting a recap of their last Age of Empires IV session.
While Microsoft’s approach focuses on coaching and system management (like installing games via voice command), Sony’s patent focuses on mechanical intervention—playing the game for you.

Will We Actually See It?
It is important to view this development with a healthy dose of skepticism. Technology giants file thousands of patents annually that never materialize into consumer products. There is currently no evidence that Sony has immediate plans to implement this technology in upcoming hardware or software.
However, the filing signals a clear interest in making games more accessible than ever. Whether this “Ghost Player” ever truly haunts our consoles remains to be seen, but the future of gaming looks increasingly like a team effort between human and machine.

